700公里包揽前三 他在赤峰鸽会强势霸榜

2026-03-31 11:57:31.0   (364次)  作者:内蒙赛鸽

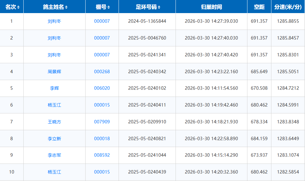
3月30日,内蒙古赤峰市信鸽协会2026年春季700公里大奖赛在哈尔滨双城区鸣枪开笼。本次比赛鸽友刘利冬凭借卓越的赛鸽实力,不仅摘得桂冠,更取得了“一人包揽前三”的优异成绩,成为本次大赛最耀眼的焦点。

早5时30分,比赛在哈尔滨双城区顺利开笼,上笼662羽赛鸽,实际空距681.335公里。司放地当日天气晴,西北风3级,气温-2-12℃,为赛鸽归巢提供了良好的条件。比赛直播>>

下午14时刚过,随着第一羽赛鸽划破长空,比赛陆续有鸽归巢。14时27分39秒,鸽友刘利冬一连报进三羽,豪取比赛前三,展现了统治级的实力。

冠军鸽环号2024-05-1365844,于14时27分39秒报进,空距691.357公里,分速1285.8855米/分。

亚军鸽环号2025-05-0046760,于14时27分40秒报进,分速1285.8457米/分。

季军鸽环号2025-05-0241341,于14时27分40秒报进,分速1285.8301米/分。

除此之外,刘利冬鸽友还获得了17、27、28、30、31、61、76等前百的好成绩。截至开笼第二日上午11时30分,比赛共报进417羽,归巢率62.99%。


文章来源于网络