神鸟立功!北京西城鸽会首关冠军再闯前三

2026-03-31 06:27:31.0   (121次)  作者:京城飞羽

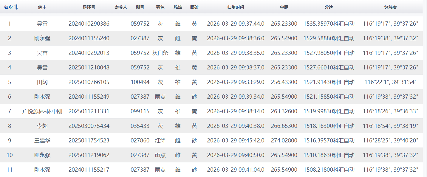
近期,京城鸽坛战鼓不息,多家协会赛事热火朝天,精彩赛况接连上演。3月29日,北京西城、东城及房山信鸽协会同日迎来第二关赛事,超过5400羽赛鸽展开激烈角逐。其中,西城鸽会上关曾创下“前十独占七席”佳绩的鸽友刚永强,又一次展现强大实力,其麾下2024011155240赛鸽再创佳绩,这羽首关冠军夺下二关亚军,神勇不减。

6点45分,北京市西城区信鸽协会2200羽赛鸽于南宫放飞。不到三小时,捷报频传。鸽友吴雷名下2024010290386黄眼灰雄,以1535.3597米/分的平均分速强势夺冠。同时该鸽友的另两羽赛鸽2024010292013、2025011218048也发挥出色,分别斩获季军与殿军。前五占三,实力非凡。

刚永强鸽友的2024011155240黄眼灰雌,以1529.5888米/分的平均分速获得亚军。这羽赛鸽继上关夺冠后,本关再度闯入前三,表现十分稳定。据统计,刚永强鸽友在本关表现依然强势,共有7羽赛鸽闯入20强,其中环号为2024011155249、2025011219062的赛鸽分获第6名和第10名。截至3月30日下午16点6分,共计1800多羽归巢,超八成归。

6点48分,北京市东城区信鸽协会开启260公里比赛,集鸽1890羽,司放地为衡水湖西服务区。约3小时后,刘杰的2025010849943黄眼灰雄摘冠,平均分速1457.4160米/分。纪烈强的2025010944592黄眼雨点雌获亚军,陈福的2025011677913黄眼灰雄获季军。截至3月30日下午16点6分,共计1400多羽归巢,近八成归。

6点36分,房山区恒聚源赛鸽俱乐部300公里比赛开赛,集鸽羽数1370羽,司放地柏乡。9点半后,小将们开始陆续报进。杨宝坤的2025010183034砂眼雨点雄勇夺冠军,平均分速1522.7716米/分。李宝山的2024011990070黄眼灰雄获亚军;白萌的2025011287787黄眼灰雄获季军。截至3月30日下午16点6分,共计1100多羽归巢,超八成归。

西城前十
东城前十
房山前十

文章来源于网络