高手包揽亚季军 江苏两俱乐部万羽齐发

2025-11-04 06:26:21.0   (4493次)  作者:小咕播报

11月2日早7点2分,江苏淮安涟水信鸽协会、金品赛鸽俱乐部同步打响秋季首关。本关司放地为山东菏泽服务区,其中涟水上笼1945羽,参考空距为375.019公里;金品上笼8106羽,参考空距为364.254公里。

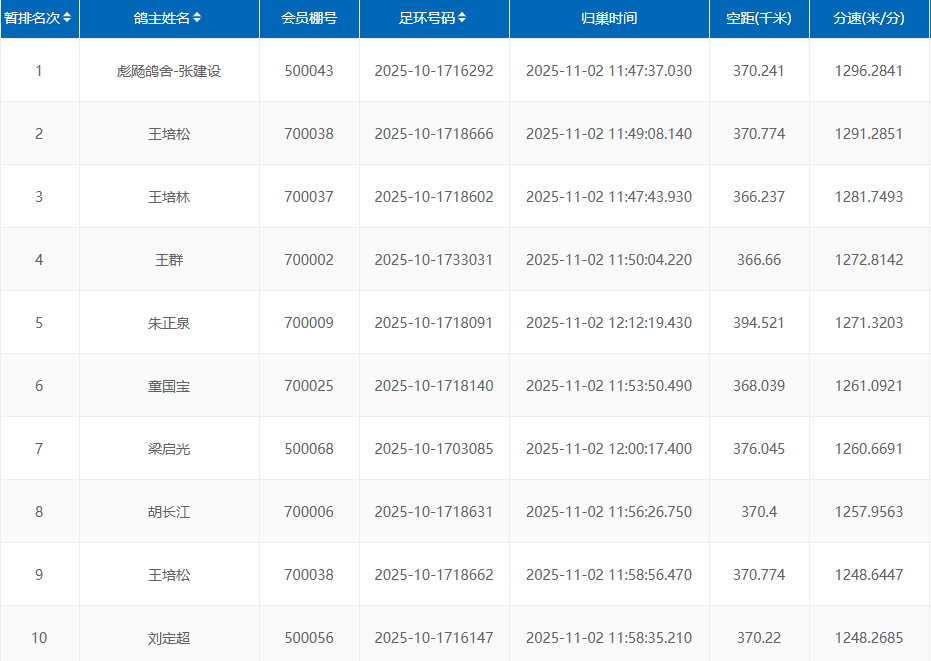
金品赛鸽俱乐部:当日中午11点47分37秒,来自彪飏鸽舍-张建设名下2025-10-1716292,以1296.2841米/分的速度拿下榜首。仅1分钟后,王培松凭借赛鸽2025-10-1718666以1291.2851米/分的分速紧随其后,斩获亚军,另一羽2025-10-1718662亦表现不俗,位列第9名。季军由王培林的赛鸽2025-10-1718602摘得,平均分速为1281.7493米/分。

截至3日下午14点25分,已有4100多羽赛鸽成功归巢,归巢率突破五成。点击查看直播>>

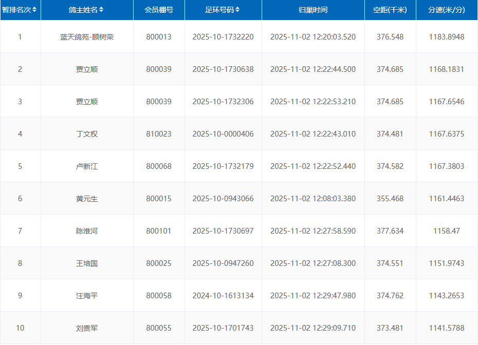
涟水信鸽协会:中午12点20分3秒,来自蓝天鸽苑-顾树荣鸽友的2025-10-1732220率先归来,以1183.8948米/分的速度拔得头筹。接着,亚军和季军则被贾立顺鸽友包揽,2025-10-1730638赛鸽以1168.1831米/分的分速位列亚军,另一羽2025-10-1732306以1167.6546米/分紧随其后,夺得季军,实力强劲。

截至3日14点25分,已有600余羽赛鸽顺利归巢,归巢率为三成左右。点击查看直播>>

金品赛鸽俱乐部
涟水信鸽协会

文章来源于网络