500公里当日仅归26羽 这场比赛不容易

2024-07-18 06:11:55.0   (5479次)  作者:拼搏鸽舍

经过三场激战,福建福州台江区信鸽协会终于来到了夏季决赛——九江站,这场赛事的空距大约530公里。

7月15日,天气晴,比赛共集鸽1277羽。小家伙们在晨光熹微中盘旋着飞去,为主人博得一个好成绩。

回顾前几站,打得并不容易——归巢都不足一半:

首战南平,集鸽11841羽;二战邵武,集鸽6876羽;三站进贤,集鸽3812羽。

开笼当天,放飞地虽然并不下雨,但气温最高达33℃,也许是气温的原因,决赛十分艰难,开笼当天仅有26羽赛鸽归巢。

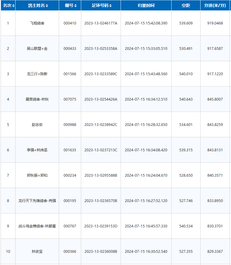
首羽归巢鸽是飞榕鸽舍的2023-13-0246177A,于当天下午15:42归巢,飞行空距539.6公里,分速919.04米/分;

当天最后一羽归巢鸽是在19:13踩响的踏板,来自永恒鸽舍-林浩严的2023-13-0253029A,飞行空距541.18公里,分速677.37米/分。

然后直到第二天5:39,才陆续有其他鸽子归巢。截至目前,共有353羽归巢鸽,归巢率27.64%。

明明空距并不远,但为什么当天归巢数这么低呢?不知道是什么原因。

比赛赛线图

文章来源于网络