偏爱高温赛!放飞6千羽 归巢不足两成

2024-07-02 15:47:05.0   (5095次)  作者:合鸟

骄阳当空、夏日炎炎。此时,全国各地区的许多赛鸽都在休养,为秋赛积蓄力量。

不过在福建沿海地区,情形却正好相反——越是炎热,赛程越是焦灼。

于是我们看到这样一幕:

7月2日,福州台江区信鸽协会于早上6:18放飞共6876羽赛鸽,空距230公里。

可以预料,情形并不乐观。

沿途天气不是降雨就是高温,而台江区今天最高气温也已经达到36℃。这样的天气下,人在户外都难以忍受,更何况是鸽子?

从归巢情况来看,飞行的赛鸽显然也已经受到不小的影响。

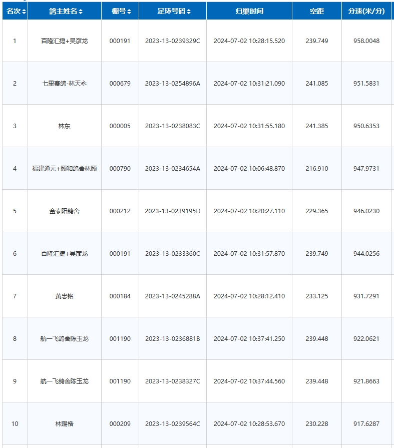
截至下午14:40,共归巢904羽赛鸽,归巢率仅13.37%。而目前百隆汇捷+吴彦龙的的一羽2023-13-0239329C,以958米/分的分速暂居榜首,可见赛事之艰。希望等气温降下来之后,能有更多归巢的鸽子。

前十名成绩截图
赛线天气

文章来源于网络