开创者春棚当日归40羽 逆风翻盘冠军鸽风采

2024-05-16 10:11:07.0   (10709次)  作者:津冀鸽赛

2024年天津开创者国际赛鸽公棚春季鸽王大奖赛第三关500-530公里决赛于5月15日早上05:55分在河南郑州市中牟县开笼,天气晴,司放3670羽,放飞地坐标为东经114°00′01.00″,北纬34°52′56.55″,参考空距518.777公里。

点击查看直播报到数据>>

赛线沿途高温炎热,全程逆风飞行!放飞近9个半小时,比赛才见个归来报到。15点27分06秒,辽宁锦州李刚战队-李刚的2023-06-0106073雨点单羽独归,率先入棚打钟,领先第二名12分钟,分速为906.7860米/分。此鸽热身赛4832名、第一关398名、第二关2275名,决赛逆风翻盘,荣登开创者春棚总冠军。

15点39分13秒,河北沧州颜亚征的2023-03-2952627灰鸽归巢报进,分速为887.9763米/分,获得亚军。紧接着,上海市高伟峰的2023-09-0239019灰鸽于15点39分45秒归巢打钟,分速为887.1617米/分,获得季军。

此后半个小时,没有鸽子报到,至16点16分,第四羽赛鸽才归巢,但依然未见大批量鸽子群归的情况。至晚上19点25分,比赛当天归巢40羽赛鸽。

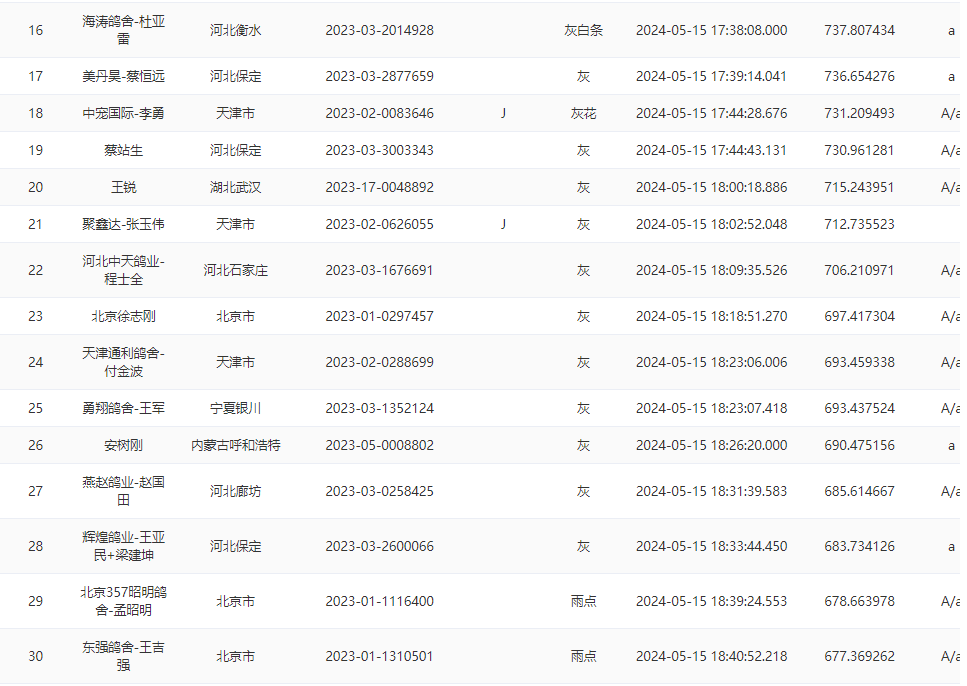
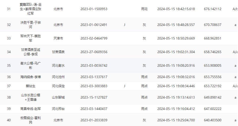
次日继续报到,至上午10点,比赛归巢鸽已超100羽。当日归前40名报到数据如下:(最终成绩请以公棚公布为准)

逆风翻盘冠军鸽欣赏
冠军-10名欣赏
冠军
亚军
季军
四名
五名
六名
七名
八名
九名
十名

文章来源于网络