春棚鸽挑战900公里武汉国家赛 冠军风采欣赏

2024-05-13 11:41:06.0   (5985次)  作者:河北赛鸽

河北宏冠春棚参加武汉国家赛极限赛,共计上笼1116羽赛鸽,于5月12日早上5点51分在湖北武汉东西湖开笼放飞,空距904公里,天气晴。

公棚为了给赛鸽一个展现自己极限的机会,参加这次武汉国家赛,鸽主自愿报名参赛,同时单独出资10万元重奖当日归巢赛鸽,实施当日伯马制,如当日无鸽归巢,开笼三天所有归巢鸽均分奖金。这些经过200公里、300公里、500公里、550公里和700公里挑战赛的1116羽赛鸽,比赛当日没有归巢,但5月13日一早,就见鸽报到。

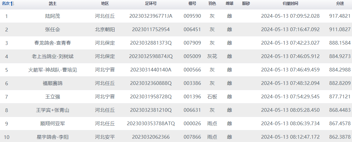
5月13日早上7点09分52秒,河北任丘陆阿茂的2023032396771赛鸽,第一个归巢入棚,领先其他赛鸽7分钟,分速为917.4821米/分,获得冠军。

7点16分47秒,北京朝阳张任会的2023011752954赛鸽入棚报到,分速为911.0827米/分,位列亚军。7点42分,河北保定春龙鸽舍-袁青春的2023032881373成为第三羽归巢鸽,飞行分速888米/分,获得季军。

查看直播数据>>

截至上午11点,比赛报到鸽已超70羽。前10名报到数据如下:

归巢图片

文章来源于网络