天津彪行天下首届春棚 收费站1.3万羽角逐

2024-03-31 11:42:40.0   (5102次)  作者:那马鸽舍

天津彪行天下春棚160-180公里热身赛于3月30日集鸽13654羽,3月31日早上7:02在辽宁东戴河开笼,司放地经纬度119°53′47.69″、40°02′41.23″,参考空距180.674公里。请点击查看所有比赛成绩>>

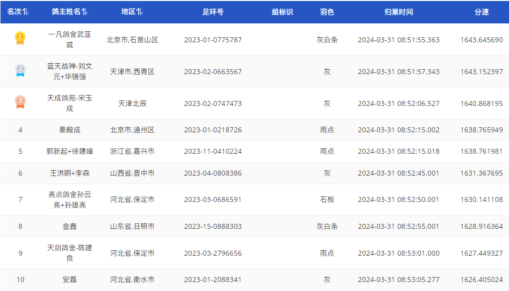
08:51:55.363,鸽主一凡鸽舍武亚威一羽灰白条报到,环号2023-01-0775787,分速1643.645690米/分,暂排第一。暂排第二的是蓝天战神-刘文元+华锡强的2023-02-0663766雨点鸽,分速1643.152397米/分。天成鸽苑-宋玉成的2023-02-0747473赛鸽分速1640.868195米/分,暂排第三。截至11:00,9655羽赛鸽归巢报到。

2024年是天津彪行天下公棚首届春棚,参赛费2000元/羽(含200元饲养费),设热身赛160-180公里、第一关280-320公里、第二关380-430公里、第三关500-550公里,以及团体赛、鸽王赛等,打东北线,决赛录取1000名,尾奖1万元。近一个月时间进行2-60公里共计16站训放。3月17日80-100公里收费站上笼16314羽赛鸽,归巢率92.9%。

前十名成绩截图
放飞瞬间

文章来源于网络