天津收鸽榜第一 这家春棚今天打响收费站

2024-03-21 09:41:35.0   (4843次)  作者:津冀赛鸽

2024年,天津天立春棚收鸽24661羽,稳坐天津地区收鸽榜头把交椅。作为天津乃至全国范围内的“超级大棚”,天津天立的赛事一直被广大鸽友关注,而春棚也可谓名家强豪云集,今年的收鸽清单上,神州辉煌-王玉爽、开尔鸽业-刘庆柏、李燕龙等超多一线名家的名字赫然在列。

经过了多次家飞、14次短训,3月21日,公棚终于迎来重要的收费站。本次收费站,累计集鸽上笼15617羽,早上7:10,万羽赛鸽从河北献县出发,向公棚方向疾驰而去,飞行空距约92.8公里。

点击查看成绩数据直播

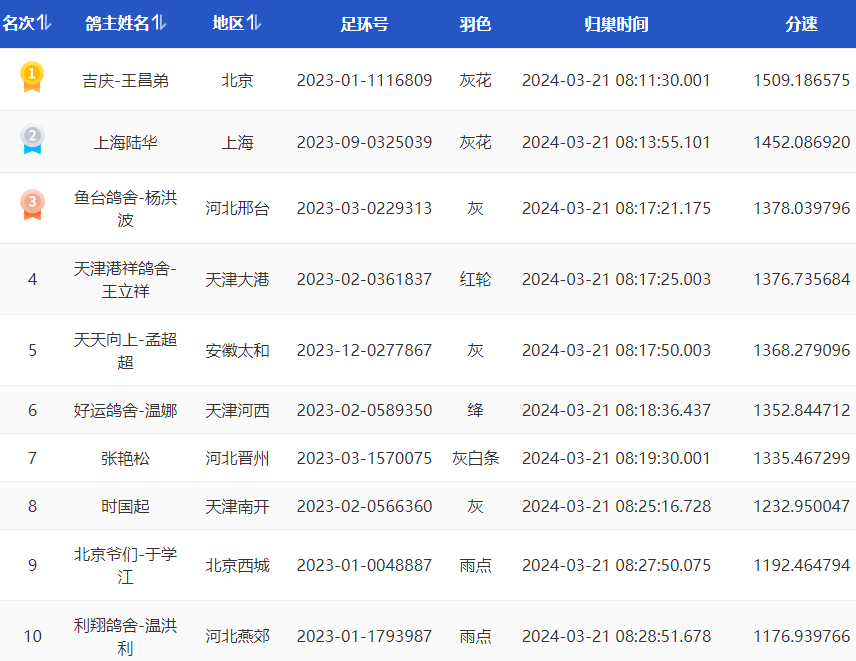
08:11:30.001,首羽赛鸽报进,是来自北京鸽友吉庆-王昌弟的一羽2023-01-1116809灰花鸽,分速1509.186575米/分,领先亚军鸽两分25秒。随后归巢的是上海陆华的一羽2023-09-0325039,同为一羽灰花鸽,分速1452.08692米/分。随后陆续有赛鸽归巢报进。截至早上9点,已归巢402羽。

在前十名中,分别被五省鸽友瓜分,其中河北占三羽,天津2羽,北京2羽,上海1羽,安徽1羽,可见赛鸽来自全国各地,竞争较为激烈。此外,前十名中,除了常规的灰鸽、雨点,还有红轮鸽、绛鸽、灰花鸽、灰白条等,十分丰富。


文章来源于网络