首归鸽分速五千多?公棚:踏板测试出现错误数据

2024-03-18 10:41:01.0   (4684次)  作者:新赛鸽

辽宁忠盛赛鸽俱乐部(春棚)100公里收费站,于3月17日早上7点38分在西柳开笼放飞,共计上笼11883羽。

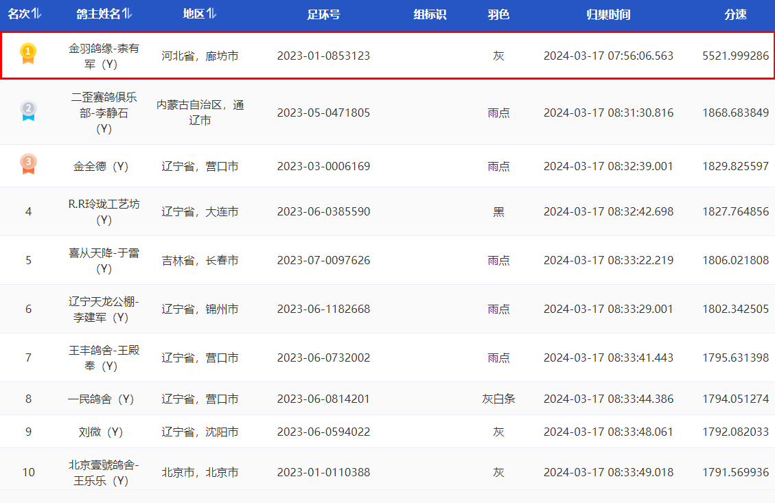
直播平台显示,7点56分报到平台出现第一羽赛鸽报进,这才刚放飞18分就有归巢鸽,分速高达5521.9992米/分。这一分速,引起了观赛鸽友的热议。

当天中午,公棚网站发布了一份声明:鸽钟驻场工作人员在归巢前踏板测试环未按要求进行测试数据重置,致使前期测试数据影响到本场收费站,出现首羽错误数据。

详细内容如下:

辽宁忠盛春棚:关于100公里收费站声明

辽宁忠盛春棚:100公里收费站监放单
报到数据截图

文章来源于网络