北京朝阳春季第一战告捷 前十名亮相

2024-03-11 06:10:39.0   (3350次)  作者:京城飞羽

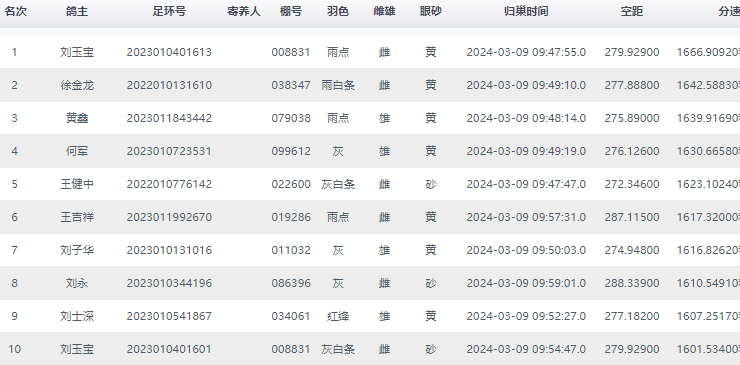
3月9日,北京朝阳信鸽协会280公里比赛,于早上7点在衡水冀州区周村开笼。集鸽总羽数3404羽,增加281名,共计录取名次为581名。点击查看直播数据>>

一羽环号为2023010401613的黄眼雨点雌鸽以1666.9092米/分的成绩排名第一,鸽主是刘玉宝,其名下还有一羽鸽子2023010401601排名第十,成绩1601.5340米/分。徐金龙的202201013610雨白条成绩为1642.5883米/分,排名第二。黄鑫的2023011843442雨点鸽成绩是1639.9169米/分,位列第三。

北京朝阳鸽会的春赛从3月9日开始打响,一个月内连打四场比赛,包含500、550公里春季特比双关赛。之后,4月份的大联赛时间待定。

前十名成绩截图
前十名验鸽照:
冠军、10名:刘玉宝
亚军:徐金龙
季军:黄鑫
4名:何军
5名:王建中
6名:王吉祥
7名:刘子华
8名:刘永
9名:刘士深

文章来源于网络