六级逆风大挑战 公棚决赛九千赛鸽未归

2023-10-24 06:29:21.0   (5255次)  作者:东北赛鸽

10月23日,辽宁运翔赛鸽公棚530公里决赛,于早上6点13分在吉林德惠菜园子开笼放飞,共计10318羽赛鸽参赛,录取1000个获奖席位。

司放地天气晴,气温20℃左右,有4-5级西南风,为逆风。比赛沿途昌图、铁岭以及归巢地盘锦市,都是5、6级大逆风,给鸽子飞翔带来了一定的影响。

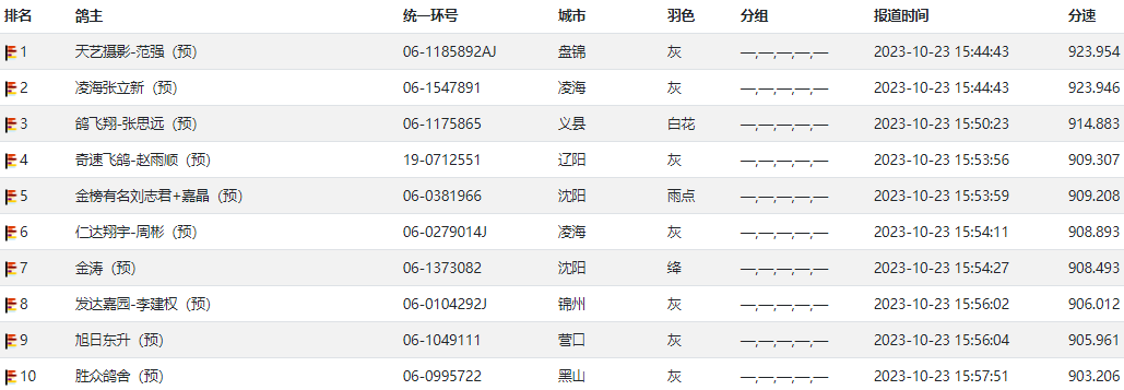
果然这是一场艰难的比赛,万羽赛鸽逆风战斗,狭路相逢勇者胜。下午15:44两羽赛鸽同时归巢,盘锦本地鸽友天艺摄影-范强的06-1185892灰鸽,率先进棚位列冠军,飞行的分速仅923.954米/分。凌海张立新的06-1547891灰鸽,飞行分速为923.946米/分,稍微落后屈居亚军。

六分钟之后,义县鸽飞翔-张思远的06-1175865白花归巢,分速为914.883米/分,获得季军。此后,赛鸽陆续归巢报到,至16:12:40,前100名获奖名次诞生。截至下午18点,比赛归巢不到800羽,录取名次未报满,有9000多鸽子未能当日归,夜宿荒野。

点击查看报到数据>>

比赛前10名报到数据
比赛天气情况
比赛放飞现场图片

文章来源于网络