决赛冠军又拿鸽王冠军 哈尔滨道里五关赛落幕

2023-10-12 10:27:06.0   (6758次)  作者:东北赛鸽

10月8日,哈尔滨市道里区信鸽协会2023年秋季五关特比环500公里第五关比赛放飞1028羽赛鸽,翰林鸽苑包揽冠军、亚军,张明江获得季军、殿军,当天归巢超800羽,宣告今年五关鸽王赛顺利落下帷幕。

今年哈尔滨道里鸽会举办500、500、500、600、500公里五关比赛,从8月底进行测试赛,之后260公里资格赛,9月10日进入第一关比赛,以3345羽赛鸽起站,一路稳扎稳打,直至战至最后一关,仍然有1028羽赛鸽进入决赛。

最终,智勇双全-张立全的2023080237767赛鸽五关超级稳定,获得了一关36名、二关11名、三关34名、四关8名、五关30名的好名次,荣获50组鸽王总冠军,平均分速1260.4852米/分。

翰林鸽苑的2023080399935赛鸽更加惊艳,三入前十名并在决赛夺得冠军,名次分别是一关10名、二关4名、三关39名、四关50名、五关冠军,平均分速为1257.8799米/分,荣获50组鸽王总亚军、100组鸽王总冠军。

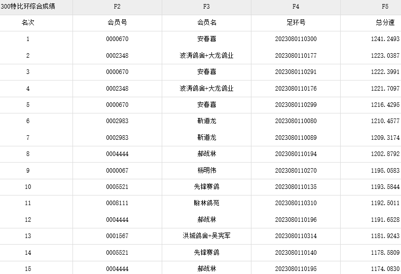
安春喜的2023080110300赛鸽获得300组鸽王总冠军,五关名次分别是一关19名、二关92名、三关91名、四关10名、五关134名,平均分速为1241.2493米/分。

50组五关鸽王前十名成绩
100组五关鸽王前十名成绩
300组五关鸽王成绩
智勇双全-张立全在第四关获得5、7、8名验鸽图片
安春喜在第四关获得4、10名验鸽图片

文章来源于网络