又遇黑色星期一?贵州五千赛鸽流落他乡

2023-09-05 09:56:52.0   (4562次)  作者:贵州赛鸽

最近贵州秋赛打得火热,多家公棚、协会、俱乐部打得不亦乐乎。9月4日星期一,三家办赛单位纷纷开飞,共计八千多羽赛鸽参与竞翔,分别从广西、重庆、贵阳三个方向挑战云贵高原赛线。以下为详细比赛情况:

9月4日上午7点52分,贵州安顺开发区信鸽协会大奖赛第一关300公里在镇远开笼,共计上笼2023羽,放飞地天气多云,有两级东风。截至5号上午9时,仅归232羽,归巢率11.4%,徐甜甜环号0938485的赛鸽拿下冠军,分速1241.5889米/分。详细归巢情况>>

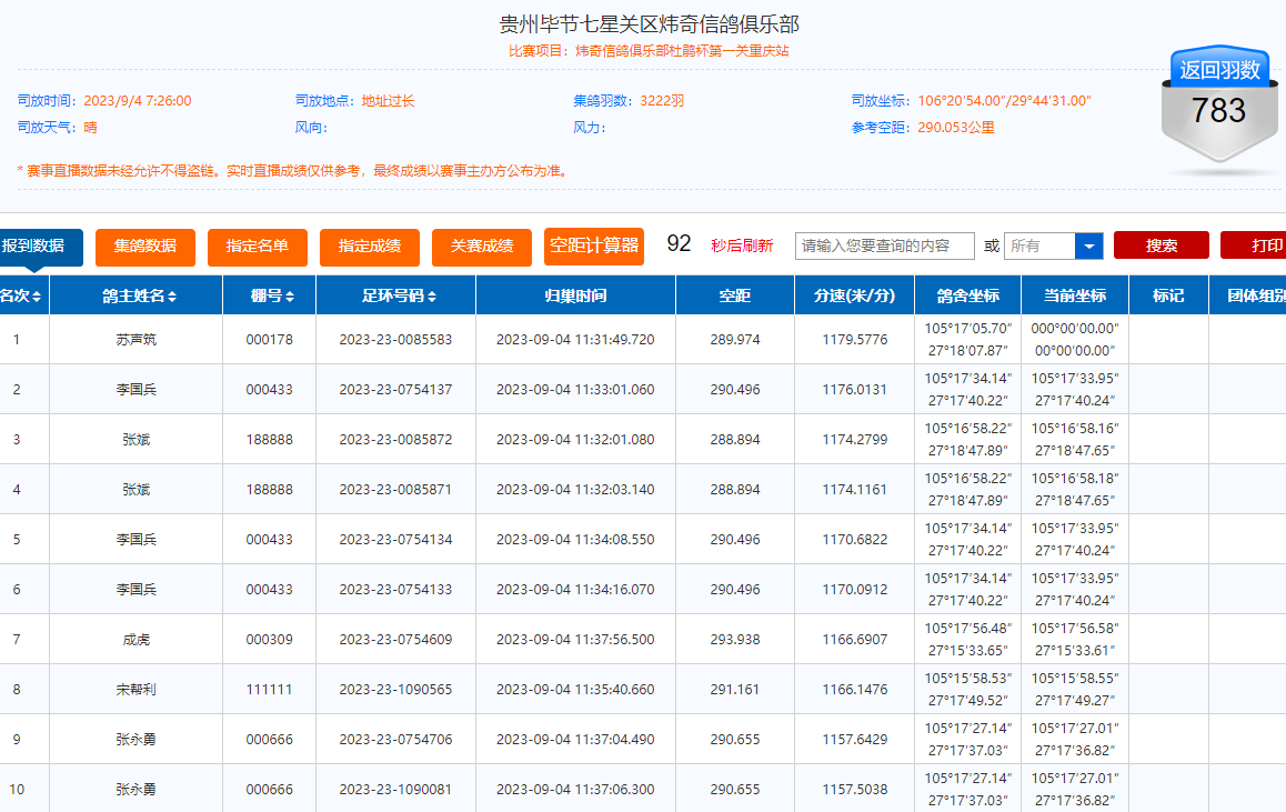
9月4日上午7点26分,贵州毕节七星关区炜奇信鸽俱乐部第一关重庆站顺利开笼,共计3222羽赛鸽参与竞翔,放飞地天晴,参考空距290公里。截至5号上午9时,共有750多羽赛鸽归巢,归巢率23.4%,苏声筑环号0085583的赛鸽斩获冠军,飞行分速1179.5776米/分。详细归巢情况>>

9月4日上午7点46分,贵州火车头信鸽协会南丹有奖赛及指定环第一关顺利开笼,共计3166羽赛鸽上笼参,参考空距202公里,放飞地天气阴,司放广西赛线。截至5号上午9时,累计归巢1900多羽,归巢率60.3%,赵沁全一人包揽冠亚季军,其中冠军分速为1052.6757米/分。详细归巢情况>>

都说贵州难飞,上笼八千多羽,有近五千赛鸽流落他乡。三场比赛,三个方向,同日竞翔,有的早早归巢六成,有的仅归一成,究竟是天气原因?还是赛线原因?或者难道又是“黑色星期一”魔咒?

归巢情况

文章来源于网络