四川秋赛第一枪!两公棚打了50公里清棚站

2023-08-22 10:25:00.0   (5385次)  作者:川鸽

八月入秋以来,全国各地天气逐渐凉爽起来,我们的秋棚赛也进入开始强制家飞阶段,赶早的贵州、云南等地公棚更是已经开训,并打响了查棚资格赛。这两天,三贤公棚、博翔公棚等两家秋棚也打响四川秋棚第一枪,进行了清棚收费站,比赛情况简述如下:

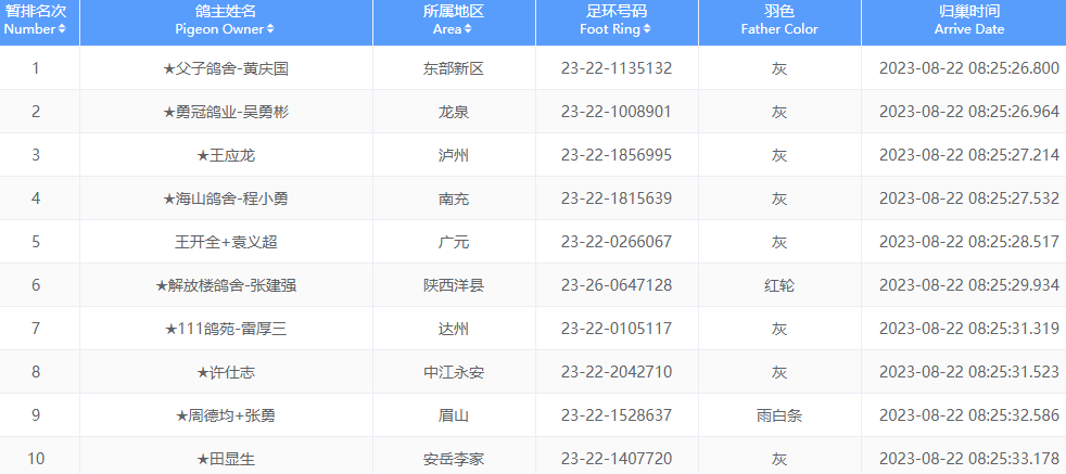
四川资阳三贤公棚在8月1日首训,20天内已经连续训了8站短距离,归巢情况不错。8月21日8点18分,三贤50公里清棚站在乐至凉水镇放飞,天气晴,共计上笼8927羽赛鸽。半个小时就见鸽归来,截至8月22日上午9点已报到8800多羽,取得开门红。

三贤公棚清棚站报到数据>>

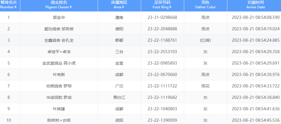
四川博翔赛鸽公棚8月10日首训,经过了3、5、10、18、32公里短训,至8月22日进入50公里清棚收费站,于早上7点38分在金堂县淮口街道南北干道放飞,共计上笼6491羽鸽子。8月25日第一羽赛鸽报到,此后大批赛鸽归巢,至9点30分,已有5900多羽报到。

博翔公棚清棚站报到数据>>

以上是四川博翔赛鸽公棚清棚站报到前10名数据及上笼图片
以上是四川三贤公棚清棚站前十名报到数据及上笼公告、放飞现场图片

文章来源于网络