夏赛正酣!福建六家单位两日放飞1.2万羽

2023-07-03 10:29:20.0   (4722次)  作者:闽粤鸽舍

进入七月,随着气温的升高,各地春赛已告一段落,纷纷进入休战期,福建六家鸽会却不惧困难,选择迎战夏赛。

7月2日,福建福州台江区信鸽协会、龙海荣发俱乐部、福州鼓楼区信鸽协会、福州高新区信鸽协会等四家鸽会、俱乐部同日竞翔,累计放飞赛鸽上万羽,但整体归巢率不足三成,以下为详细比赛情况:

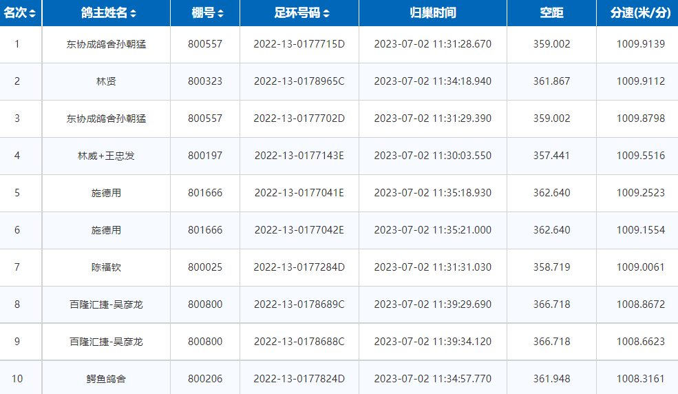
清晨5月36分,福州高新区信鸽协会2023年夏季预赛在抚州放飞,共计1672羽赛鸽参赛,东协成鸽舍孙朝猛环号2022-13-0177715、2022-13-0177702的赛鸽分别斩获冠、季军,分速1009.9139米/分、1009.8798米/分,飞行空距359.002公里。点击查看数据链接>>

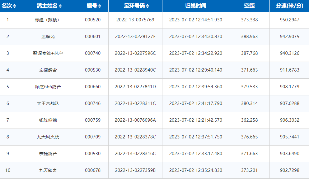
5点42分,福州鼓楼区信鸽协会夏季第三关比赛顺利开笼,共有2180羽小将上笼参赛。陈建(鼓楼)环号2022-13-0075769的赛鸽拿下冠军,分速950.2947米/分,飞行空距373.338公里。点击查看数据链接>>

上午5点55分,龙海荣发俱乐部2023年夏季三关赛第一关赛在吉安放飞,共计589羽赛鸽参赛,放飞地天气晴,有2级南风。吴海石环号2023-13-2502026、2023-13-2502182的赛鸽分别拿下冠亚军,分速为793.5424米/分、793.3507米/分,空距417.717公里。点击查看数据链接>>

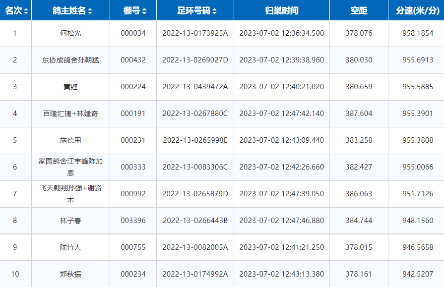
6点02分,福州台江区信鸽协会2023年夏季竞赛在乐安开笼,共有6262羽上笼参赛,当天归巢1600多羽,何松光2022-13-0173925A的赛鸽以958.1854米/分的成绩拿下冠军,飞行空距378.076公里。点击查看数据链接>>

7月3日,福建闽清县信鸽协会、福建海西赛鸽俱乐部夏赛在抚州正式打响,共有2000多羽小将参赛,期待它们能够早日归巢,再创佳绩!

闽清鸽会数据链接>>  海西俱乐部数据链接>>

福州高新区信鸽协会成绩截图
福州鼓楼区信鸽协会成绩截图
龙海荣发俱乐部成绩截图
福州台江区信鸽协会成绩截图

文章来源于网络