东南最大特比“荣耀杯”首关放飞八千羽

2023-05-24 12:04:49.0   (6516次)  作者:粤闽鸽舍

福建泉州飞龙赛鸽俱乐部“荣耀杯”第一关福鼎站比赛,于5月20日开笼放飞,参考空距334.930公里,共计司放8483羽赛鸽。

点击链接查看直播数据>>

飞龙“荣耀杯”是东南地区最大的特比赛事,也是参赛会员最多、最广的赛事,除了本地鸽友外,还有广东、浙江以及台湾地区的鸽友,还有其他地区鸽友组队参赛。同时,比赛也吸引了不少年轻鸽友参赛,为鸽界注入青春活力。

今年“荣耀杯”售环14660枚,比赛设有福鼎、平阳、乐清、台州四关比赛,每关有效分速均不同,第一关有效分速420米/分,而决赛关有效分速640米/分,越往后难度越大。

时间已进入夏季,“荣耀杯”四关赛线从浙江台州市向南,沿着东部海岸线飞行,高温炎热的天气是赛鸽的一大障碍。今天第一关福鼎的比赛,虽然一路有小雨,但气温不高,25℃左右,3-4级东北顺风,为赛鸽快速归巢助力。截至11点30分,比赛已报到超1200羽鸽子。

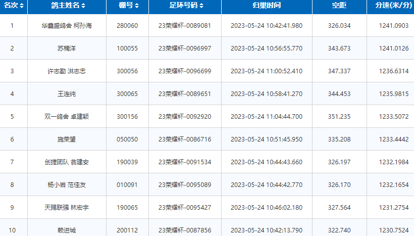
10点42分41秒,华鑫盛鸽舍柯孙海的23荣耀杯-0089081赛鸽归巢,飞行空距326.034公里,以1241.0903米/分暂列第一名。

10点56分55秒,苏楠洋的23荣耀杯-0096997赛鸽归巢,飞行空距343.673公里,分速为1241.0126米/分,位列第二名。

11点00分52秒,许志勤、洪志忠的23荣耀杯-0096699赛鸽归巢,飞行空距347.337公里,分速为1236.6314米/分,位列第三名。

第一关前十名报到成绩
第一关福鼎站赛线及天气情况
集鸽现场
开笼瞬间

文章来源于网络