天津市鸽王赛已战四关 这羽鸽王一枝独秀

2023-05-04 10:20:29.0   (5820次)  作者:津门第一

4月30日,天津市信鸽协会集鸽3172羽参加新乡国家赛,于早上5点58分在河南新乡统一时间开笼,赛区总羽数12021羽,天气晴。

这是天津市第二场中距离国家赛,也是两关“国家赛”热身赛+三关正赛的五关赛第四站比赛,单关录取500名:冠军4000元、亚军3000元、季军2000元,四至十名各1000元、十一至五百名各100元。综合鸽王录取100名:冠军10000元、亚军10000元、季军10000元,四至十名各2000元、十一至一百名各1000元。

11点33分33秒,会员袁士岺一羽环号为22-02-0374815赛鸽归巢,飞行空距506.4080公里,分速为1509.1421米/分,获得本次国家赛冠军。

11点21分26秒,会员金永哲一羽环号为22-02-0376764赛鸽第一羽归来,飞行空距487.218公里,分速1506.324米/分,获得本次国家赛亚军。

11点44分04秒,会员陈颖一羽环号为21-02-0205491赛鸽归巢,飞行空距512.9370公里,分速为1482.1455米/分,实现超越,获得本次国家赛季军。比赛在有效期内,归巢2200多羽,归巢率超七成。

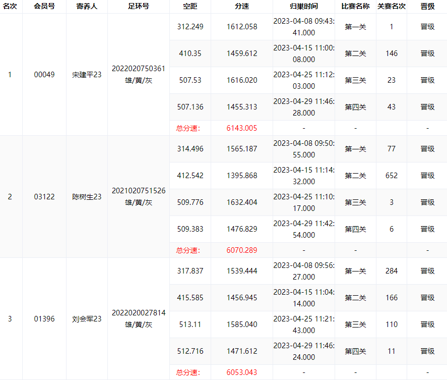
综合成绩方面,宋建平的2022-02-0750361赛鸽一枝独秀,第一关300公里热身赛就拿下冠军,此后第二关400公里146名、第三关500公里23名、第四关500公里43名,以6143.005米/分的总分速位列鸽王冠军。

陈树生的2021-02-0751526赛鸽前两关热身赛稳定发挥,两关500公里国家赛持续发力,分别获得季军、六名,最终以6070.289米/分的总分速位列鸽王亚军。

最后一关600公里郑州国家赛,将于5月8日举行,期待大家取得好成绩。

天津市第二场新乡国家赛前十名成绩
天津市国家赛鸽王赛暂排成绩截图
天津市第二场新乡国家赛前三名验鸽照

文章来源于网络