奏响四川春赛先声 天和40公里查棚站启航

2023-02-09 10:19:34.0   (4129次)  作者:川鸽飞翔

又是一年新春到,今年花胜去年红。在云南多家公棚顺利完成查棚站比赛后,四川省西昌市天和赛鸽中心也紧随其后,开启40公里查棚站,奏响四川春赛先声。

2月8日上午9:26,四川天和赛鸽中心40公里查棚收费站在德昌打靶场开笼,共计6683羽赛鸽参与竞翔,当天天气晴朗,适宜飞行。本次比赛由攀枝花市信鸽协会、凉山州信鸽协会共同完成逐羽扫描上笼执裁工作。

点击查看归巢情况>>

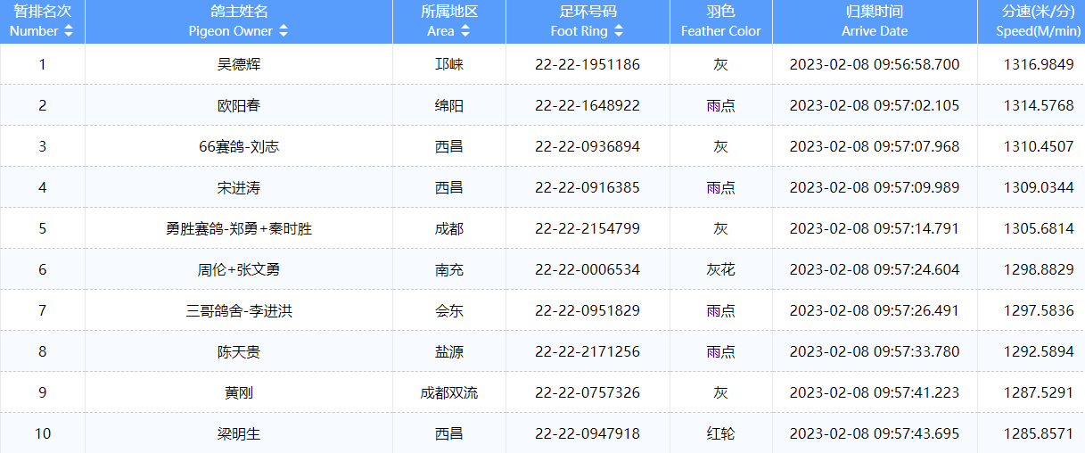
30分钟后,上午9:56,首羽赛鸽归巢,是吴德辉环号2022-22-1951186的灰鸽,同时它以1316.9849米/分的成绩拿下冠军。仅1秒过后,第一批大部队集体报进,欧阳春22-22-1648922的雨点鸽以1314.5768米/分的成绩斩获亚军;66赛鸽-刘志的灰鸽拿下季军,环号22-22-0936894,分速1310.4507米/分。截至2月9日上午9时,共有5600多羽赛鸽顺利回归,归巢率84%。

前十名成绩截图
查棚站上笼图集
执裁文档

文章来源于网络